
AMD最新的针对DRAM的专利通过更改模块内部逻辑,实现了内存带宽的翻倍,而无需更快的DRAM芯片。
AMD专利在不提升DRAM芯片的前提下实现了内存带宽翻倍硬件层面的升级往往受限于架构改动或逻辑/半导体利用率的“额外负担”。但凭借这项新专利,AMD采用相对简洁的手段将DDR5的内存带宽提升了一倍,称之为 “高带宽DIMM”(HB‑DIMM)。专利并未单纯追求DRAM制程升级,而是将寄存器/时钟驱动器(RCD)和数据缓冲芯片集成进模块,从而实现带宽提升,这是一种以DIMM为核心的改进。
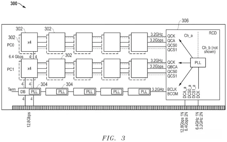
下面来看看该实现的技术细节。专利指出,HB‑DIMM并不依赖DRAM本身的改进;通过简单的重新计时和复用,内存带宽从每针6.4 Gb/s提升至12.8 Gb/s,实际上实现了翻倍。借助RCD,AMD利用板载数据缓冲区将两路常速DRAM流合并为一条更快的流向处理器,这样在分配给主机系统时带宽即可翻倍。
该方案主要面向AI以及其他对带宽高度敏感的工作负载,但专利还提到了另一项针对APU/iGPU的有趣实现。它使用两种不同的 “内存插槽”标准DDR5 PHY和额外的HB‑DIMM PHY。容量更大的内存池来源于DDR5,而容量较小的那一块则专用于通过上述HB‑DIMM方法更快地搬运数据。
对于APU来说,这一做法在本地AI场景中最为适配——当系统处理大量AI数据流时,能够获得更快的响应。随着边缘AI在传统系统中的重要性日益提升,这项技术将为AMD带来显著收益。唯一的缺点可能是高带宽需求会导致功耗上升,进而需要更有效的散热方案。
AMD是内存领域的领军企业之一,众所周知,TeamRed曾与SK Hynix合作打造HBM,足以证明其在该领域的专业实力。HB‑DIMM方案看起来前景光明,因为它在不依赖DRAM芯片进步的情况下就实现了带宽翻倍。
涨8配资提示:文章来自网络,不代表本站观点。